/ Telegram
A1 +375 (29) 3902272
Такие уплотнения используются в сочетании с другими уплотнениями вала или подшипниками для герметизации от пыли, грязи, жира, брызг масла или воды. Не требовательны к допускам и чистоте обработки уплотняемой поверхности, не изнашивают её в процессе работы. Выполнены из материала NBR или FKM, в зависимости от условий.
Рассчитаны для работы при скоростях вращения до 8м/с. При скорости вращения 8-10м/с необходимо дополнительное радиальное сжатие. При скоростях свыше 15м/с кромка отходит от уплотняемой поверхности.
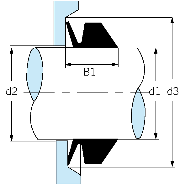
Уплотнение VA
Стандартный профиль V-образного кольца. Широкий диапазон применения, например, в сочетании с подшипниками в электродвигателях и редукторах.
| Обозначение | Диаметр вала d1 мм | Внутренний диаметр кольца d мм | Высота профиля C мм | Ширина рабочей кромки A мм | Ширина профиля B мм | d2 max. | d3 min. | Ширина посадочного места B1 |
|---|
| VA-3 | 2.7 - 3.5 | 2.5 | 1.5 | 2.1 | 3,0 | d1 + 1 | d1 + 4 | 2.5 ± 0.3 |
| VA-4 | 3.5 - 4.5 | 3.2 | 2 | 2.4 | 3,7 | d1 + 1 | d1 + 6 | 3.0 ± 0.4 |
| VA-5 | 4.5 - 5.5 | 4 | 2 | 2.4 | 3,7 | d1 + 1 | d1 + 6 | 3.0 ± 0.4 |
| VA-6 | 5.5 - 6.5 | 5 | 2 | 2.4 | 3,7 | d1 + 1 | d1 + 6 | 3.0 ± 0.4 |
| VA-7 | 6.5 - 8.0 | 6 | 2 | 2.4 | 3,7 | d1 + 1 | d1 + 6 | 3.0 ± 0.4 |
| VA-8 | 8.0 - 9.5 | 7 | 2 | 2.4 | 3,7 | d1 + 1 | d1 + 6 | 3.0 ± 0.4 |
| VA-10 | 9.5 - 11.5 | 9 | 3 | 3.4 | 5,5 | d1 + 2 | d1 + 9 | 4.5 ± 0.6 |
| VA-12 | 11.5 - 12.5 | 10.5 | 3 | 3.4 | 5,5 | d1 + 2 | d1 + 9 | 4.5 ± 0.6 |
| VA-13 | 12.5 - 13.5 | 11.7 | 3 | 3.4 | 5,5 | d1 + 2 | d1 + 9 | 4.5 ± 0.6 |
| VA-14 | 13.5 - 15.5 | 12.5 | 3 | 3.4 | 5,5 | d1 + 2 | d1 + 9 | 4.5 ± 0.6 |
| VA-16 | 15.5 - 17.5 | 14 | 3 | 3.4 | 5,5 | d1 + 2 | d1 + 9 | 4.5 ± 0.6 |
| VA-18 | 17.5 - 19.0 | 16 | 3 | 3.4 | 5,5 | d1 + 2 | d1 + 12 | 6.0 ± 0.8 |
| VA-20 | 19 - 21 | 18 | 4 | 4.7 | 7,5 | d1 + 2 | d1 + 12 | 6.0 ± 0.8 |
| VA-22 | 21 - 24 | 20 | 4 | 4.7 | 7,5 | d1 + 2 | d1 + 12 | 6.0 ± 0.8 |
| VA-25 | 24 - 27 | 22 | 4 | 4.7 | 7,5 | d1 + 2 | d1 + 12 | 6.0 ± 0.8 |
| VA-28 | 27 - 29 | 25 | 4 | 4.7 | 7,5 | d1 + 3 | d1 + 12 | 6.0 ± 0.8 |
| VA-30 | 29 - 31 | 27 | 4 | 4.7 | 7,5 | d1 + 3 | d1 + 12 | 6.0 ± 0.8 |
| VA-32 | 31 - 33 | 29 | 4 | 4.7 | 7,5 | d1 + 3 | d1 + 12 | 6.0 ± 0.8 |
| VA-35 | 33 - 36 | 31 | 4 | 4.7 | 7,5 | d1 + 3 | d1 + 12 | 6.0 ± 0.8 |
| VA-38 | 36 - 38 | 34 | 4 | 4.7 | 7.5 | d1 + 3 | d1 + 12 | 6.0 ± 0.8 |
| VA-40 | 38 - 43 | 36 | 5 | 5.5 | 9 | d1 + 3 | d1 + 15 | 7.0 ± 1.0 |
| VA-45 | 43 - 48 | 40 | 5 | 5.5 | 9 | d1 + 3 | d1 + 15 | 7.0 ± 1.0 |
| VA-50 | 48 - 53 | 45 | 5 | 5.5 | 9 | d1 + 3 | d1 + 15 | 7.0 ± 1.0 |
| VA-55 | 53 - 58 | 49 | 5 | 5.5 | 9 | d1 + 3 | d1 + 15 | 7.0 ± 1.0 |
| VA-60 | 58 - 63 | 54 | 5 | 5.5 | 9 | d1 + 3 | d1 + 15 | 7.0 ± 1.0 |
| VA-65 | 63 - 68 | 58 | 5 | 5.5 | 9 | d1 + 3 | d1 + 15 | 7.0 ± 1.0 |
| VA-70 | 86 - 73 | 63 | 6 | 6.8 | 11 | d1 + 4 | d1 + 18 | 9.0 ± 1.2 |
| VA-75 | 73 - 78 | 67 | 6 | 6.8 | 11 | d1 + 4 | d1 + 18 | 9.0 ± 1.2 |
| VA-80 | 78 - 83 | 72 | 6 | 6.8 | 11 | d1 + 4 | d1 + 18 | 9.0 ± 1.2 |
| VA-85 | 83 - 88 | 76 | 6 | 6.8 | 11 | d1 + 4 | d1 + 18 | 9.0 ± 1.2 |
| VA-90 | 88 - 93 | 81 | 6 | 6.8 | 11 | d1 + 4 | d1 + 18 | 9.0 ± 1.2 |
| VA-95 | 93 - 98 | 85 | 6 | 6.8 | 11 | d1 + 4 | d1 + 18 | 9.0 ± 1.2 |
| VA-100 | 98 - 105 | 90 | 6 | 6.8 | 11 | d1 + 4 | d1 + 18 | 9.0 ± 1.2 |
| VA-110 | 105 - 115 | 99 | 7 | 7.9 | 12.8 | d1 + 4 | d1 + 21 | 10.5 ± 1.5 |
| VA-120 | 115 - 125 | 108 | 7 | 7.9 | 12.8 | d1 + 4 | d1 + 21 | 10.5 ± 1.5 |
| VA-130 | 125 - 135 | 117 | 7 | 7.9 | 12.8 | d1 + 4 | d1 + 21 | 10.5 ± 1.5 |
| VA-140 | 135 - 145 | 126 | 7 | 7.9 | 12.8 | d1 + 4 | d1 + 21 | 10.5 ± 1.5 |
| VA-150 | 145 - 155 | 135 | 7 | 7.9 | 12.8 | d1 + 4 | d1 + 21 | 10.5 ± 1.5 |
| VA-160 | 155 - 165 | 144 | 8 | 9 | 14.5 | d1 + 5 | d1 + 24 | 12.0 ± 1.8 |
| VA-170 | 165 - 175 | 153 | 8 | 9 | 14.5 | d1 + 5 | d1 + 24 | 12.0 ± 1.8 |
| VA-180 | 175 - 185 | 162 | 8 | 9 | 14.5 | d1 + 5 | d1 + 24 | 12.0 ± 1.8 |
| VA-190 | 185 - 195 | 171 | 8 | 9 | 14.5 | d1 + 5 | d1 + 24 | 12.0 ± 1.8 |
| VA-199 | 195 - 210 | 180 | 8 | 9 | 14.5 | d1 + 5 | d1 + 24 | 12.0 ± 1.8 |
| VA-200 | 190 - 210 | 180 | 15 | 14.3 | 25 | d1 + 10 | d1 + 45 | 20.0 ± 4.0 |
| VA-220 | 210 - 235 | 198 | 15 | 14.3 | 25 | d1 + 10 | d1 + 45 | 20.0 ± 4.0 |
| VA-250 | 235 - 265 | 225 | 15 | 14.3 | 25 | d1 + 10 | d1 + 45 | 20.0 ± 4.0 |
| VA-275 | 265 - 290 | 247 | 15 | 14.3 | 25 | d1 + 10 | d1 + 45 | 20.0 ± 4.0 |
| VA-300 | 290 - 310 | 270 | 15 | 14.3 | 25 | d1 + 10 | d1 + 45 | 20.0 ± 4.0 |
| VA-325 | 310 - 335 | 292 | 15 | 14.3 | 25 | d1 + 10 | d1 + 45 | 20.0 ± 4.0 |
| VA-350 | 335 - 365 | 315 | 15 | 14.3 | 25 | d1 + 10 | d1 + 45 | 20.0 ± 4.0 |
| VA-375 | 365 - 390 | 337 | 15 | 14.3 | 25 | d1 + 10 | d1 + 45 | 20.0 ± 4.0 |
| VA-400 | 390 - 430 | 360 | 15 | 14.3 | 25 | d1 + 10 | d1 + 45 | 20.0 ± 4.0 |
| VA-450 | 430 - 480 | 405 | 15 | 14.3 | 25 | d1 + 10 | d1 + 45 | 20.0 ± 4.0 |
| VA-500 | 480 - 530 | 450 | 15 | 14.3 | 25 | d1 + 10 | d1 + 45 | 20.0 ± 4.0 |
| VA-550 | 530 - 580 | 495 | 15 | 14.3 | 25 | d1 + 10 | d1 + 45 | 20.0 ± 4.0 |
| VA-600 | 580 - 630 | 540 | 15 | 14.3 | 25 | d1 + 10 | d1 + 45 | 20.0 ± 4.0 |
| VA-650 | 630 - 665 | 600 | 15 | 14.3 | 25 | d1 + 10 | d1 + 45 | 20.0 ± 4.0 |
| VA-700 | 665 - 705 | 630 | 15 | 14.3 | 25 | d1 + 10 | d1 + 45 | 20.0 ± 4.0 |
| VA-725 | 705 - 745 | 670 | 15 | 14.3 | 25 | d1 + 10 | d1 + 45 | 20.0 ± 4.0 |
| VA-750 | 745 - 785 | 705 | 15 | 14.3 | 25 | d1 + 10 | d1 + 45 | 20.0 ± 4.0 |
| VA-800 | 785 - 830 | 745 | 15 | 14.3 | 25 | d1 + 10 | d1 + 45 | 20.0 ± 4.0 |
| VA-850 | 830 - 875 | 785 | 15 | 14.3 | 25 | d1 + 10 | d1 + 45 | 20.0 ± 4.0 |
| VA-900 | 875 - 920 | 825 | 15 | 14.3 | 25 | d1 + 10 | d1 + 45 | 20.0 ± 4.0 |
| VA-950 | 920 - 965 | 865 | 15 | 14.3 | 25 | d1 + 10 | d1 + 45 | 20.0 ± 4.0 |
| VA-1000 | 965 - 1015 | 910 | 15 | 14.3 | 25 | d1 + 10 | d1 + 45 | 20.0 ± 4.0 |
| VA-1050 | 1015 - 1065 | 955 | 15 | 14.3 | 25 | d1 + 10 | d1 + 45 | 20.0 ± 4.0 |
| VA-1100 | 1065 - 1115 | 1000 | 15 | 14.3 | 25 | d1 + 10 | d1 + 45 | 20.0 ± 4.0 |
| VA-1150 | 1115 - 1165 | 1045 | 15 | 14.3 | 25 | d1 + 10 | d1 + 45 | 20.0 ± 4.0 |
| VA-1200 | 1165 - 1215 | 1090 | 15 | 14.3 | 25 | d1 + 10 | d1 + 45 | 20.0 ± 4.0 |
| VA-1250 | 1215 - 1270 | 1135 | 15 | 14.3 | 25 | d1 + 10 | d1 + 45 | 20.0 ± 4.0 |
| VA-1300 | 1270 - 1320 | 1180 | 15 | 14.3 | 25 | d1 + 10 | d1 + 45 | 20.0 ± 4.0 |
| VA-1350 | 1320 - 1370 | 1225 | 15 | 14.3 | 25 | d1 + 10 | d1 + 45 | 20.0 ± 4.0 |
| VA-1400 | 1370 - 1420 | 1270 | 15 | 14.3 | 25 | d1 + 10 | d1 + 45 | 20.0 ± 4.0 |
| VA-1450 | 1420 - 1470 | 1315 | 15 | 14.3 | 25 | d1 + 10 | d1 + 45 | 20.0 ± 4.0 |
| VA-1500 | 1470 - 1520 | 1360 | 15 | 14.3 | 25 | d1 + 10 | d1 + 45 | 20.0 ± 4.0 |
| VA-1550 | 1520 - 1570 | 1405 | 15 | 14.3 | 25 | d1 + 10 | d1 + 45 | 20.0 ± 4.0 |
| VA-1600 | 1570 - 1620 | 1450 | 15 | 14.3 | 25 | d1 + 10 | d1 + 45 | 20.0 ± 4.0 |
| VA-1650 | 1620 - 1670 | 1495 | 15 | 14.3 | 25 | d1 + 10 | d1 + 45 | 20.0 ± 4.0 |
| VA-1700 | 1670 - 1720 | 1540 | 15 | 14.3 | 25 | d1 + 10 | d1 + 45 | 20.0 ± 4.0 |
| VA-1750 | 1720 - 1770 | 1585 | 15 | 14.3 | 25 | d1 + 10 | d1 + 45 | 20.0 ± 4.0 |
| VA-1800 | 1770 - 1820 | 1630 | 15 | 14.3 | 25 | d1 + 10 | d1 + 45 | 20.0 ± 4.0 |
| VA-1850 | 1820 - 1870 | 1675 | 15 | 14.3 | 25 | d1 + 10 | d1 + 45 | 20.0 ± 4.0 |
| VA-1900 | 1870 - 1920 | 1720 | 15 | 14.3 | 25 | d1 + 10 | d1 + 45 | 20.0 ± 4.0 |
| VA-1950 | 1920 - 1970 | 1765 | 15 | 14.3 | 25 | d1 + 10 | d1 + 45 | 20.0 ± 4.0 |
| VA-2000 | 1970 - 2020 | 1810 | 15 | 14.3 | 25 | d1 + 10 | d1 + 45 | 20.0 ± 4.0 |
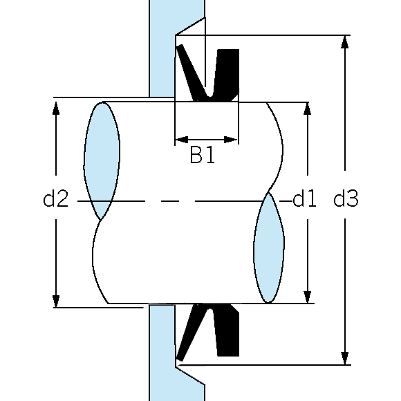
Уплотнение VL
V-образное кольцо типа VL имеет узкую основную часть, что позволяет использовать его в узлах с ограниченным пространством для установки. Чаще всего используются в сочетании с лабиринтными уплотнениями.
| Обозначение | Диаметр вала d1 мм | Внутренний диаметр кольца d мм | Высота профиля C мм | Ширина рабочей кромки A мм | Ширина профиля B мм | d2 max. | d3 min. | Ширина посадочного места B1 |
|---|
| VL-110 | 105-115 | 99 | 6.5 | 6 | 10.5 | d1 + 5 | d1 + 20 | 8.0 ± 1.5 |
| VL-120 | 115-125 | 108 | 6.5 | 6 | 10.5 | d1 + 5 | d1 + 20 | 8.0 ± 1.5 |
| VL-130 | 125- 135 | 117 | 6.5 | 6 | 10.5 | d1 + 5 | d1 + 20 | 8.0 ± 1.5 |
| VL-140 | 135- 145 | 126 | 6.5 | 6 | 10.5 | d1 + 5 | d1 + 20 | 8.0 ± 1.5 |
| VL-150 | 145- 155 | 135 | 6.5 | 6 | 10.5 | d1 + 5 | d1 + 20 | 8.0 ± 1.5 |
| VL-160 | 155 - 165 | 144 | 6.5 | 6 | 10.5 | d1 + 5 | d1 + 20 | 8.0 ± 1.5 |
| VL-170 | 165 - 175 | 153 | 6.5 | 6 | 10.5 | d1 + 5 | d1 + 20 | 8.0 ± 1.5 |
| VL-180 | 175- 185 | 162 | 6.5 | 6 | 10.5 | d1 + 5 | d1 + 20 | 8.0 ± 1.5 |
| VL-190 | 185- 195 | 171 | 6.5 | 6 | 10.5 | d1 + 5 | d1 + 20 | 8.0 ± 1.5 |
| VL-200 | 195-210 | 182 | 6.5 | 6 | 10.5 | d1 + 5 | d1 + 20 | 8.0 ± 1.5 |
| VL-220 | 210-233 | 198 | 6.5 | 6 | 10.5 | d1 + 5 | d1 + 20 | 8.0 ± 1.5 |
| VL-250 | 233 - 260 | 225 | 6.5 | 6 | 10.5 | d1 + 5 | d1 + 20 | 8.0 ± 1.5 |
| VL-275 | 260 - 285 | 247 | 6.5 | 6 | 10.5 | d1 + 5 | d1 + 20 | 8.0 ± 1.5 |
| VL-300 | 285-310 | 270 | 6.5 | 6 | 10.5 | d1 + 5 | d1 + 20 | 8.0 ± 1.5 |
| VL-325 | 310-335 | 292 | 6.5 | 6 | 10.5 | d1 + 5 | d1 + 20 | 8.0 ± 1.5 |
| VL-350 | 335 - 365 | 315 | 6.5 | 6 | 10.5 | d1 + 5 | d1 + 20 | 8.0 ± 1.5 |
| VL-375 | 365 - 385 | 337 | 6.5 | 6 | 10.5 | d1 + 5 | d1 + 20 | 8.0 ± 1.5 |
| VL-400 | 385-410 | 360 | 6.5 | 6 | 10.5 | d1 + 5 | d1 + 20 | 8.0 ± 1.5 |
| VL-425 | 410-440 | 382 | 6.5 | 6 | 10.5 | d1 + 5 | d1 + 20 | 8.0 ± 1.5 |
| VL-450 | 440 - 475 | 405 | 6.5 | 6 | 10.5 | d1 + 5 | d1 + 20 | 8.0 ± 1.5 |
| VL-500 | 475-510 | 450 | 6.5 | 6 | 10.5 | d1 + 5 | d1 + 20 | 8.0 ± 1.5 |
| VL-525 | 510-540 | 472 | 6.5 | 6 | 10.5 | d1 + 5 | d1 + 20 | 8.0 ± 1.5 |
| VL-550 | 540 - 575 | 495 | 6.5 | 6 | 10.5 | d1 + 5 | d1 + 20 | 8.0 ± 1.5 |
| VL-600 | 575 - 625 | 540 | 6.5 | 6 | 10.5 | d1 + 5 | d1 + 20 | 8.0 ± 1.5 |
| VL-650 | 625 - 675 | 600 | 6.5 | 6 | 10.5 | d1 + 5 | d1 + 20 | 8.0 ± 1.5 |
| VL-700 | 675-710 | 630 | 6.5 | 6 | 10.5 | d1 + 5 | d1 + 20 | 8.0 ± 1.5 |
| VL-725 | 710-740 | 670 | 6.5 | 6 | 10.5 | d1 + 5 | d1 + 20 | 8.0 ± 1.5 |
| VL-750 | 740 - 775 | 705 | 6.5 | 6 | 10.5 | d1 + 5 | d1 + 20 | 8.0 ± 1.5 |
| VL-800 | 775 - 825 | 745 | 6.5 | 6 | 10.5 | d1 + 5 | d1 + 20 | 8.0 ± 1.5 |
| VL-850 | 825 - 875 | 785 | 6.5 | 6 | 10.5 | d1 + 5 | d1 + 20 | 8.0 ± 1.5 |
| VL-900 | 875 - 925 | 825 | 6.5 | 6 | 10.5 | d1 + 5 | d1 + 20 | 8.0 ± 1.5 |
| VL-950 | 952 - 975 | 865 | 6.5 | 6 | 10.5 | d1 + 5 | d1 + 20 | 8.0 ± 1.5 |
| VL-1000 | 975- 1025 | 910 | 6.5 | 6 | 10.5 | d1 + 5 | d1 + 20 | 8.0 ± 1.5 |
| VL-1050 | 1025- 1075 | 955 | 6.5 | 6 | 10.5 | d1 + 5 | d1 + 20 | 8.0 ± 1.5 |
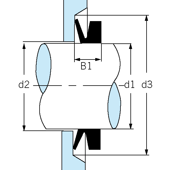
Уплотнение VS
Кольцо V-образного профиля VS благодаря своей форме плотно прилегает к валу и не смещается при больших скоростях и высокой вибрации. В основном используется в узлах сельскохозяйственной техники и автомобилей.
| Обозначение | Диаметр вала d1 мм | Внутренний диаметр кольца d мм | Высота профиля C мм | Ширина рабочей кромки A мм | Ширина профиля B мм | d2 max. | d3 min. | Ширина посадочного места B1 |
|---|
| VS-5 | 4.5 - 5.5 | 4 | 2 | 3.9 | 5.2 | d1+ 1 | d1+ 6 | 4.5±0.4 |
| VS-6 | 5.5 - 6.5 | 5 | 2 | 3.9 | 5.2 | d1+ 1 | d1+ 6 | 4.5±0.4 |
| VS-7 | 6.5 - 8.0 | 6 | 2 | 3.9 | 5.2 | d1+ 1 | d1+ 6 | 4.5±0.4 |
| VS-8 | 8.0 - 9.5 | 7 | 2 | 3.9 | 5.2 | d1+ 1 | d1+ 6 | 4.5±0.4 |
| VS-10 | 9.5 - 11.5 | 9 | 3 | 5.6 | 7.7 | d1+ 2 | d1+ 9 | 6.7±0.6 |
| VS-12 | 11.5 - 13.5 | 10.5 | 3 | 5.6 | 7.7 | d1+ 2 | d1+ 9 | 6.7±0.6 |
| VS-14 | 13.5 - 15.5 | 12.5 | 3 | 5.6 | 7.7 | d1+ 2 | d1+ 9 | 6.7±0.6 |
| VS-16 | 15.5 - 17.5 | 14 | 3 | 5.6 | 7.7 | d1+ 2 | d1+ 9 | 6.7±0.6 |
| VS-18 | 17.5 - 19.0 | 16 | 3 | 5.6 | 7.7 | d1+ 2 | d1+ 9 | 6.7±0.6 |
| VS-20 | 19 - 21 | 18 | 4 | 7.9 | 10.5 | d1+ 2 | d1+12 | 9.0±0.8 |
| VS-22 | 21 - 24 | 20 | 4 | 7.9 | 10.5 | d1+ 2 | d1+12 | 9.0±0.8 |
| VS-25 | 24 - 27 | 22 | 4 | 7.9 | 10.5 | d1+ 2 | d1+12 | 9.0±0.8 |
| VS-28 | 27 - 29 | 25 | 4 | 7.9 | 10.5 | d1+ 3 | d1+12 | 9.0±0.8 |
| VS-30 | 29 - 31 | 27 | 4 | 7.9 | 10.5 | d1+ 3 | d1+12 | 9.0±0.8 |
| VS-32 | 31 - 33 | 29 | 4 | 7.9 | 10.5 | d1+ 3 | d1+12 | 9.0±0.8 |
| VS-35 | 33 - 36 | 31 | 4 | 7.9 | 10.5 | d1+ 3 | d1+12 | 9.0±0.8 |
| VS-38 | 36 - 38 | 34 | 4 | 7.9 | 10.5 | d1+ 3 | d1+12 | 9.0±0.8 |
| VS-40 | 38 - 43 | 36 | 5 | 9.5 | 13 | d1+ 3 | d1+15 | 11.0±1.0 |
| VS-45 | 43 - 48 | 40 | 5 | 9.5 | 13 | d1+ 3 | d1+15 | 11.0±1.0 |
| VS-50 | 48 - 53 | 45 | 5 | 9.5 | 13 | d1+ 3 | d1+15 | 11.0±1.0 |
| VS-55 | 53 - 58 | 49 | 5 | 9.5 | 13 | d1+ 3 | d1+15 | 11.0±1.0 |
| VS-60 | 58 - 63 | 54 | 5 | 9.5 | 13 | d1+ 3 | d1+15 | 11.0±1.0 |
| VS-65 | 63 - 68 | 58 | 5 | 9.5 | 13 | d1+ 3 | d1+15 | 11.0±1.0 |
| VS-70 | 68 - 73 | 63 | 6 | 11.3 | 15.5 | d1+ 4 | d1+18 | 13.5±1.2 |
| VS-75 | 73 - 78 | 67 | 6 | 11.3 | 15.5 | d1+ 4 | d1+18 | 13.5±1.2 |
| VS-80 | 78 - 83 | 72 | 6 | 11.3 | 15.5 | d1+ 4 | d1+18 | 13.5±1.2 |
| VS-85 | 83 - 88 | 76 | 6 | 11.3 | 15.5 | d1+ 4 | d1+18 | 13.5±1.2 |
| VS-90 | 88 - 93 | 81 | 6 | 11.3 | 15.5 | d1+ 4 | d1+18 | 13.5±1.2 |
| VS-95 | 93 - 98 | 85 | 6 | 11.3 | 15.5 | d1+ 4 | d1+18 | 13.5±1.2 |
| VS-100 | 98 - 105 | 90 | 6 | 11.3 | 15.5 | d1+ 4 | d1+18 | 13.5±1.2 |
| VS-110 | 105 - 115 | 99 | 7 | 13.1 | 18 | d1+ 4 | d1+21 | 15.5±1.5 |
| VS-120 | 115 - 125 | 108 | 7 | 13.1 | 18 | d1+ 4 | d1+21 | 15.5±1.5 |
| VS-130 | 125 - 135 | 117 | 7 | 13.1 | 18 | d1+ 4 | d1+21 | 15.5±1.5 |
| VS-140 | 135 - 145 | 126 | 7 | 13.1 | 18 | d1+ 4 | d1+21 | 15.5±1.5 |
| VS-150 | 145 - 155 | 135 | 7 | 13.1 | 18 | d1+ 4 | d1+21 | 15.5±1.5 |
| VS-160 | 155 - 165 | 144 | 8 | 15 | 20.5 | d1+ 5 | d1+24 | 18.0±1.8 |
| VS-170 | 165 - 175 | 153 | 8 | 15 | 20.5 | d1+ 5 | d1+24 | 18.0±1.8 |
| VS-180 | 175 - 185 | 162 | 8 | 15 | 20.5 | d1+ 5 | d1+24 | 18.0±1.8 |
| VS-190 | 185 - 95 | 171 | 8 | 15 | 20.5 | d1+ 5 | d1+24 | 18.0±1.8 |
| VS-199 | 195 - 210 | 180 | 8 | 15 | 20.5 | d1+ 5 | d1+24 | 18.0±1.8 |
Уплотнение VE
Профиль VE рекомендуется для больших диаметров вала и может быть дополнительно закреплен путем стяжки. Имеет большую кромку для тяжелых условий эксплуатации. В основном используется в промышленных машинах, прокатных станках.
Уплотнение VRM01
В этих уплотнениях V-образное кольцо заключено в металлический каркас для придания ему жёсткости и повышения защиты от пыли. Перед установкой осевое уплотнение должно быть слегка смазано.
Другие обозначения: Techné RB / NAK RE
Уплотнение VRM02
В этих уплотнениях V-образное кольцо заключено в металлический каркас для придания ему жёсткости и повышения защиты от пыли. Перед установкой осевое уплотнение должно быть слегка смазано.
Другие обозначения: Techné 9RB / NAK RE1